今天小編要給大家介紹的這所高校是國內的“建筑老八校”之一,學校的城市規劃和建筑學等專業在行業內都特別有名,也有“建筑四小校”之稱,因為陜西省內985和211高校云集,學校的知名度相比之下很低,這所大學就是西安建筑科技大學。
西安建筑科技大學簡稱“西安建大”、“西建大”,坐落于世界歷史名城古都西安,由中華人民共和國住房和城鄉建設部與陜西省人民政府共建,是中國“建筑老八校”之一,原冶金工業部直屬重點大學,國家“中西部高校基礎能力建設工程”、“國家建設高水平大學公派研究生項目”實施院校、陜西省省屬高水平大學,入選首批“卓越工程師教育培養計劃”、“全國工程碩士研究生教育創新院校”、“全國深化創新創業教育改革示范高校”。是一所以土木建筑、環境市政、材料冶金及其相關學科為特色,以工程技術學科為主體,多學科協調發展的多科性大學。
學校最早可追溯到始建于1895年的北洋大學,1956年全國第三次高等學校院系調整時,學校由原東北工學院、西北工學院、青島工學院和蘇南工業專科學校的建筑、土木、市政類系(科)合并而成,時名西安建筑工程學院。1959年和1963年,先后易名為西安冶金學院、西安冶金建筑學院。1994年3月,經原國家教委批,更名為西安建筑科技大學。2011年9月設立研究生院。
截至2018年4月,學校雁塔校區、草堂校區和產業園區總占地4300余畝;下設17個學院,63個本科專業;一級學科博士點9個,博士后流動站7個,一級學科碩士點25個,具有10種類別的碩士專業學位授予權,工程學進入ESI全球排名前1%;教職工2800余名,其中專任教師1700余名,在職中國工程院院士2名、雙聘院士5名;在校學生34000余人。
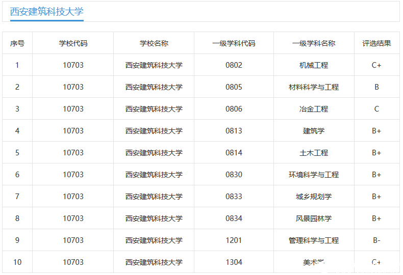
西安建筑科技大學學校的建筑設計及其理論、環境工程和結構工程等3個學科是國家級的重點學科,陜西省的省重點學科學校有18個,學校在第四輪學科評估中,環境科學與工程、土木工程等5個學科被評為B+學科,1個B等學科和1個B-學科。

西安建筑科技大學在校友會排行榜中,2018年位居全國高校的140名,比上年下降1名;在省內連續3年第8名。